Landing Page
Professional Projects
Personal/School Projects
About Me
Landing Page
Professional Projects
Personal/School Projects
About Me
Drew Hamroff

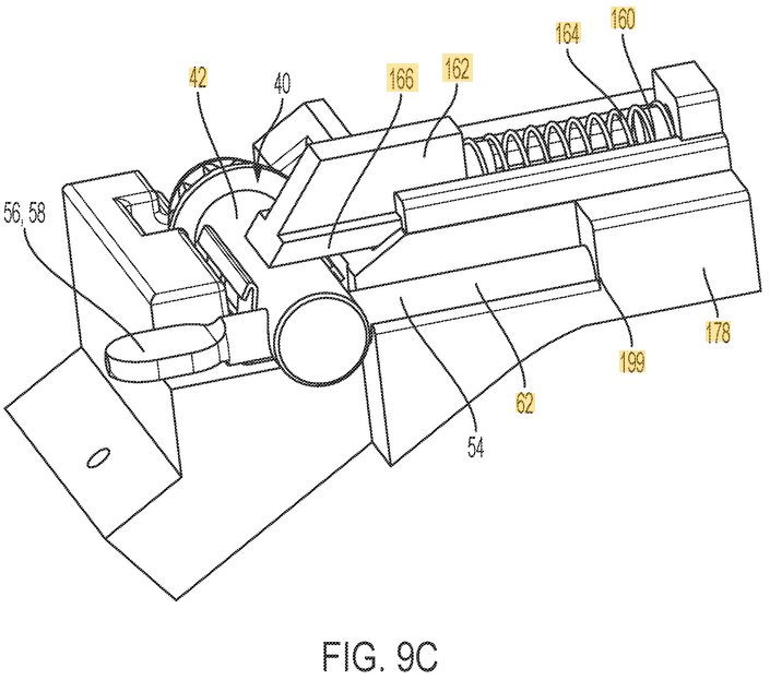
DeWALT Chuck Key Holder

Chuck Key Holder
Designed and prototyped a drill mounted chuck key holder
-  Patent Link Here  -

You may also like

Misc. DeWALT Dust Extractors
2022
Ninja CREAMi Scoop & Swirl
2024
DeWALT Multi-Head Drill/Driver (DCD803B)
2023
Ninja SLUSHi Max
2025
↑Back to Top
Powered by Adobe Portfolio